carbon steel C15/C45
stainless steel 304/316
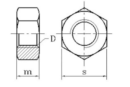
SIZE MM
M6
M8
M10
M12
M16
M20
M24
M
4.9
6.4
7.9
9.9
12.9
15.9
18.9
s
16.9
23.9
29.9
35.9